Product Summary
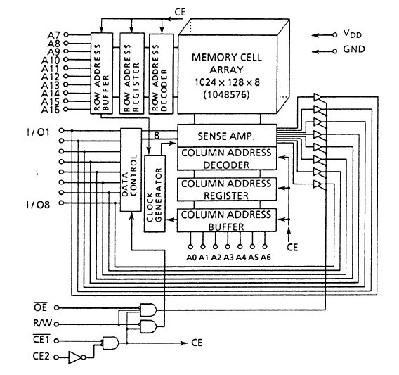
The TC551001BFL-85L is a 1048576-bit static random accwss memory (SRAM) organized as 131072 wors by 8 bits. The TC551001BFL-85L operates from a single 5V±10% power supply. Advanced circuit technology provides both high speed and low power at an operating current of 5mA/MHz and a minimum cycle time of 55ns. The TC551001BFL-85L is automatically placed in low-power mode at 1μA standby current when chip enable CE1 is asserted high or CE2 is asserted low. The TC551001BFL-85L has three contgrol inputs.
Parametrics
TC551001BFL-85L absolute maximum ratings: (1)VDD, power supply voltage: -0.3 to 7.0V; (2)VIN, input voltage: -0.3 to 7.0V; (3)VI/O, input and output voltage: -0.5 to VDD+0.5V; (4)PD, power dissipation: 1.0/0.6W; (5)Tsolder, soldering temperature: 260℃; (6)Tstrg, storage temeprature: -55 to 150℃; (7)Topr, operating temperature: 0 to 70℃.
Features
TC551001BFL-85L features: (1)low power dissipaton operating: 27.5mW/MHz typical; (2)single power supply voltage of 5V±10%; (3)power down features using CE1 and CE2; (4)data retention supply voltage of 2 to 5.5V; (5)direct TTL compatibility for all inputs and outputs.
Diagrams

![]() |
![]() TC55 |
![]() Cornell Dubilier |
![]() Aluminum Electrolytic Capacitors - Leaded 20uF 250V |
![]() Data Sheet |
![]()
|
|
||||||||
![]() |
![]() TC55 Series |
![]() Other |
![]() |
![]() Data Sheet |
![]() Negotiable |
|
||||||||
![]() |
![]() TC55100185L |
![]() Other |
![]() |
![]() Data Sheet |
![]() Negotiable |
|
||||||||
![]() |
![]() TC551001BFL |
![]() Other |
![]() |
![]() Data Sheet |
![]() Negotiable |
|
||||||||
![]() |
![]() TC551001BFTL |
![]() Other |
![]() |
![]() Data Sheet |
![]() Negotiable |
|
||||||||
![]() |
![]() TC551001BPL |
![]() Other |
![]() |
![]() Data Sheet |
![]() Negotiable |
|
||||||||
(Hong Kong)









